기존에 청년희망적금을 만기 완료한 분들 중에 청년도약계좌의 가입조건도 충족된다면 일시납입 이벤트에 참여하실 수 있습니다.
목차
청년도약계좌 신청기간
2024년 6월의 신청기간은 4일부터 14일까지이고, 다음에 진행될 차수의 확인은 서민금융진흥원 홈페이지 공지사항으로 확인할 수 있습니다.
청년도약계좌 신청기간 동안에 일반적으로 가입하시는 분과 함께, 청년희망적금 만기자 또는 만기 예정자도 신청하실 수 있습니다.

청년도약계좌 일시납입 지원
청년희망적금을 만기까지 완료한 분들은 청년도약계좌에 연계해서 가입할 수 있도록, 청년희망적금 만기 금액을 청년도약계좌 가입 시 일시납입 지원 받을 수 있습니다.
일시납입 금액은 최소 200만원부터 가능하며, 최대 청년희망적금의 만기 금액까지 납입할 수 있으며, 월 설정금액을 40,50,60,70만원 중에서 선택해야 합니다.
2024년 5월까지 진행되는 이벤트로, 청년도약계좌 일시납입 연계 가입을 했을 때 대상이 되며, 추첨을 통해 총 200명에게 2만원 가량의 기프티콘을 받을 수 있습니다.

청년도약계좌 조건 및 혜택
청년도약계좌는 청년들이 경제적으로 성장하고 도약할 수 있는 기회이므로, 가입 조건들을 잘 확인하신 후, 자격이 되신다면 꼭 가입해보세요.

- 청년도약계좌 나이 조건
먼저, 나이 조건입니다. 계좌 개설일 혹은 가입일 기준으로 만 19세에서 34세 이하인 분들이 해당되요.
여기서 중요한 점은, 병역을 이행한 기간이 최대 6년까지는 연령 계산 시 제외된다는 거예요. 즉, 병역을 이행한 시간은 나이에서 빼주니 걱정 마세요.



- 청년도약계좌 소득 조건
다음은 개인소득 조건입니다. 직전 과세기간의 총급여액이 7,500만원 이하이며, 종합소득과세표준에 합산되는 종합소득금액이 6,300만원 이하인 경우에 가입이 가능해요.
육아휴직급여나 육아휴직수당 외에 비과세 소득만 있는 경우는 제외되니 유의해주세요. 만약 직전 과세기간의 소득이 확정되지 않았다면, 전전년도 소득으로 인정받을 수 있어요.


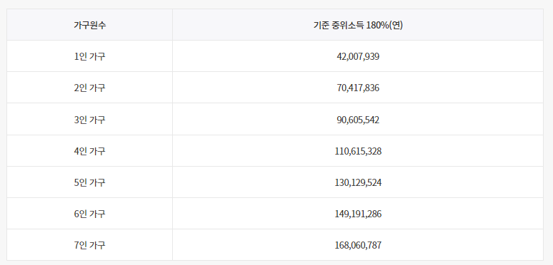
- 청년도약계좌 가구소득 조건
마지막으로, 가구소득 조건입니다. 가구원 수에 따른 기준 중위소득 180% 이하에 해당하는 분들이 가입할 수 있어요.
여기서 가구원은 청년 본인뿐만 아니라 본인의 주민등록표 등본상 배우자, 부모, 자녀, 그리고 형제·자매(미성년자 포함)를 기준으로 판단합니다.
직전 과세기간의 소득이 확정되지 않았다면 여기에서도 전전년도 소득으로 인정받을 수 있답니다.


- 금융소득종합과세 대상 여부 확인
또한 금융소득종합과세 대상이 되는지 여부를 결정할 때, 가입한 해가 속한 과세기간 바로 전의 3년 동안을 봅니다.
이 기간 중에 한 번이라도 금융소득종합과세 대상자가 아니었다면, 그 사람은 '금융소득종합과세 대상자에 해당하지 않는 자'로 분류되어 조건을 만족할 수 있습니다.


청년도약계좌에 가입했을 때 받을 수 있는 다양한 혜택들을 참고하면 좋을 것 같아요.
이 계좌는 여러분이 납입하는 금액에 따라 구간별로 정부에서 기여금을 지원해 주는 제도랍니다. 즉, 더 많이 납입할수록 정부 지원금도 더 많이 받을 수 있다는 얘기죠.



본인이 납입한 금액과 정부에서 지원해 주는 기여금에 대해서는 이자가 붙는데, 이 이자에 대해서도 비과세 혜택을 받을 수 있어요.
특히, 저소득층 청년들에게는 '소득+우대금리'라는 이름으로, 일정 수준 이상의 우대금리를 제공받을 수 있어요. 이는 평소보다 높은 이자를 받을 수 있어, 여러분의 자산 증식에 큰 도움이 될 거예요.
'정보' 카테고리의 다른 글
| 자산형성 포털 지원사업 체크하기 (청년내일저축계좌) (0) | 2024.12.01 |
|---|---|
| 공매도란 금지기간 이슈 알아보기 (0) | 2024.11.30 |
| 육아휴직 급여 신청방법 지급제한 유무 확인해보기 (0) | 2024.11.29 |
| 실업급여 조건 신청방법 알아보기 (0) | 2024.07.07 |
| 금투세란 시행 폐지 청원 알아보기 (0) | 2024.06.24 |